数字式投影仪工作原理知识,维修技术,保养,维护,知识,操作规程,工作原理,深圳恒信杰专业服务
 
     维氏硬度计
     洛氏硬度计
     里氏硬度计
     布氏硬度计
     邵氏硬度计
     韦氏硬度计
     便携式硬度计
     多用途硬度计
     硬度计测量软件
     影像测量仪
     测量投影仪
     光学投影仪
     数显投影仪
     数字式投影仪
     工具显微镜
     盐雾试验箱
     高低温试验箱
     弹簧试验机
     材料试验机
     花岗石平板
     金相制样设备
     金相制样耗材
     扭力工具系列
     粗糙度测量仪
     工量具系列
     超声波探伤仪
     金相体视显微镜
     孔板自动测量仪
     硬度计配件
     投影仪配件
     超声波|电解镀层测厚仪
硬度计生产厂家:洛氏硬度计、维氏硬度计、里氏硬度计、布氏硬度计、邵氏硬度计、韦氏硬度计 www.hxj17.com
数字式投影仪工作原理知识
 
 
    【数字式投影仪简介】

    数字式投影仪(又名测量投影仪、光学投影仪、数显投影仪、轮廓投影仪)是集光学、精密机械、电子测量于一体化的精密测量仪器,适用于精密工业二维尺寸测量。如:模具、工具、弹簧、螺丝、齿轮、凸轮、螺纹、钟表、自动车床加工、航空等工业的制造、品管检验与学术研究及计量单位广泛使用。

    【数字式投影仪工作原理】

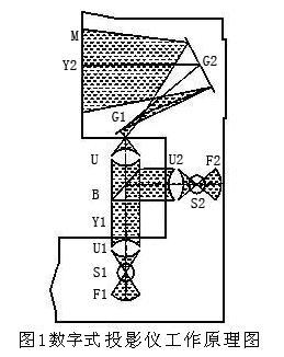
    数字式投影仪工作原理如图1  所示,被测工件  Y1  置于工作台上,在透射或反射照明下,它由物镜  U  成放大实像  Y2  (反像)并经光镜  G1  与  G2  反射于投影屏  M  的磨沙面上,成像出一个与工件完全反向的影像。当  U  物镜与  G1  反光镜换成正像系统后,Y2  即成为正像,成像出一个与工件完全正向的影像。工件通过放大成像于投影屏上,利用工作台上的数位测量系统(电子尺和DC-3000数据处理器或QC200数据处理器组成)对投影屏上的工件轮廓进行座标测量;也可利用投影屏旋转角度数显系统对工件轮廓的角度进行测量。图中  F1  和  F2  为照明光源反光镜;S1  与  S2  分别为透射和反射照明光源,U1  与  U2  分别为透射和反射聚光镜,视工件的性质,两种照明可分别使用,也可同时使用。半反半透镜  B  仅仅在反射照明时才使用。

    【数字式投影仪总体结构】

    一、数字式投影仪主要由投影箱、主壳体和工作台三大部分构成。
    (1)投影箱:包括仪器的成像系统即物镜、反光镜  G1  与  G2、投影屏和DC-3000数据处理器系统,投影屏旋转机构上装有角度传感器。
    (2)主壳体:除支撑投影箱和工作台外,仪器的照明系统、电器控制系统、以及冷却风扇等均装在上面。
    (3)工作台:包括纵向(X轴)、横向(Y轴)运动(座标测量用)和垂向(Z轴)运动(调焦用)。X  轴与  Y  轴配有解析度为0.001mm的光栅尺。

    二、数字式投影仪总体结构各小部分详解如图2  所示。

    【数字式投影仪成像分类】

    正像与反像俩种。

    【数字式投影仪测量功能】

    1、  多点采集确定直线和圆;
    2、  各几何元素预置设定;
    3、以组合方式确定各几何元素;
    4、具有坐标旋转,坐标平移功能;
    5、Z轴可设定为传感器长度值或编码器角度值;
    6、具有用户自编程功能;
    7、极坐标/直角坐标转换功能;
    8、光栅尺线性修正,区段线性修正功能;
    9、RS232输入功能;
    10、打印页面输入功能;
    11、停电记忆功能;
    12、各几何元素可存储,调用。
地址:深圳市宝安区石岩街道宝源社区奋达科技园二期1号楼602
深圳市恒信杰科技有限公司 版权所有 Copyright2007-2025 Tel:0755-29764395 29764385 Fax:0755-29764385 粤ICP备19158478